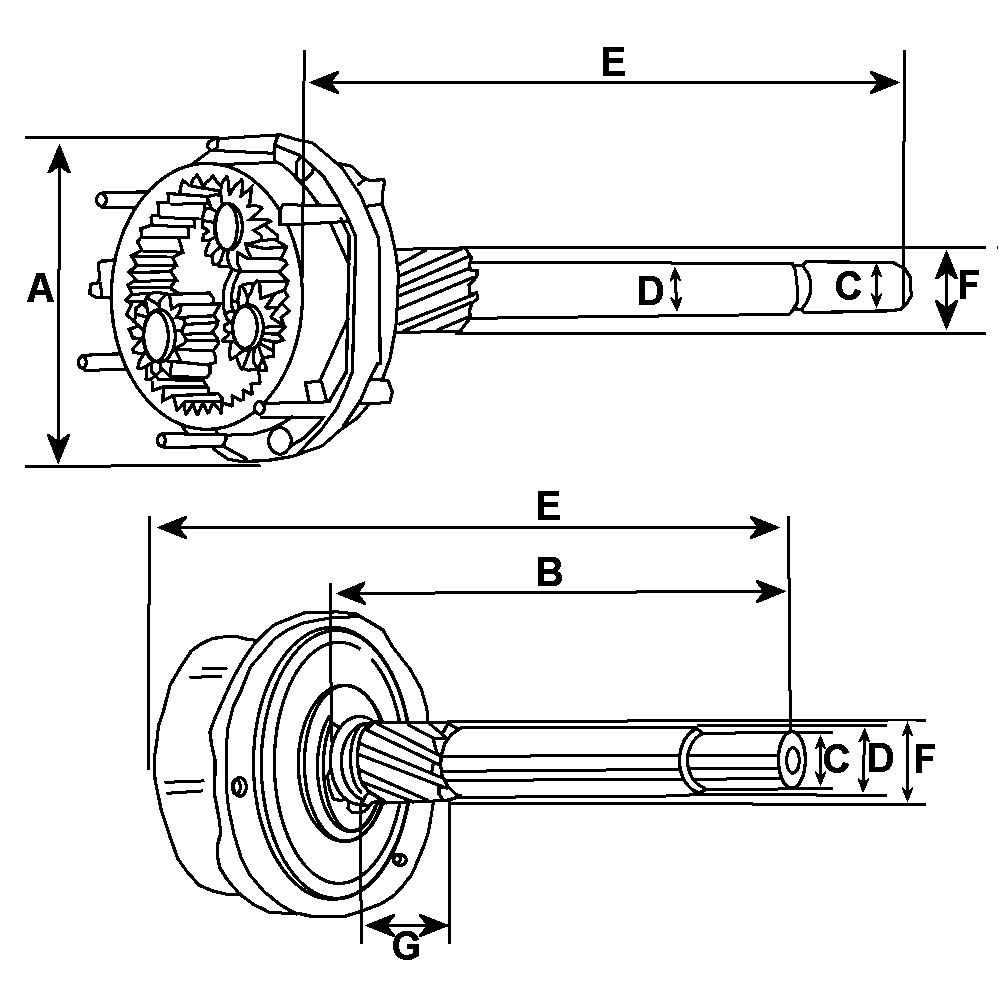
No. cannelures 9, Longeur cannelures/arrière 21.00, Diametre/centre 2 12.00, Diametre Cannelures/centre 15.60, DE/arbre 10.00, Rotation Cr, Longueur totale 129.50