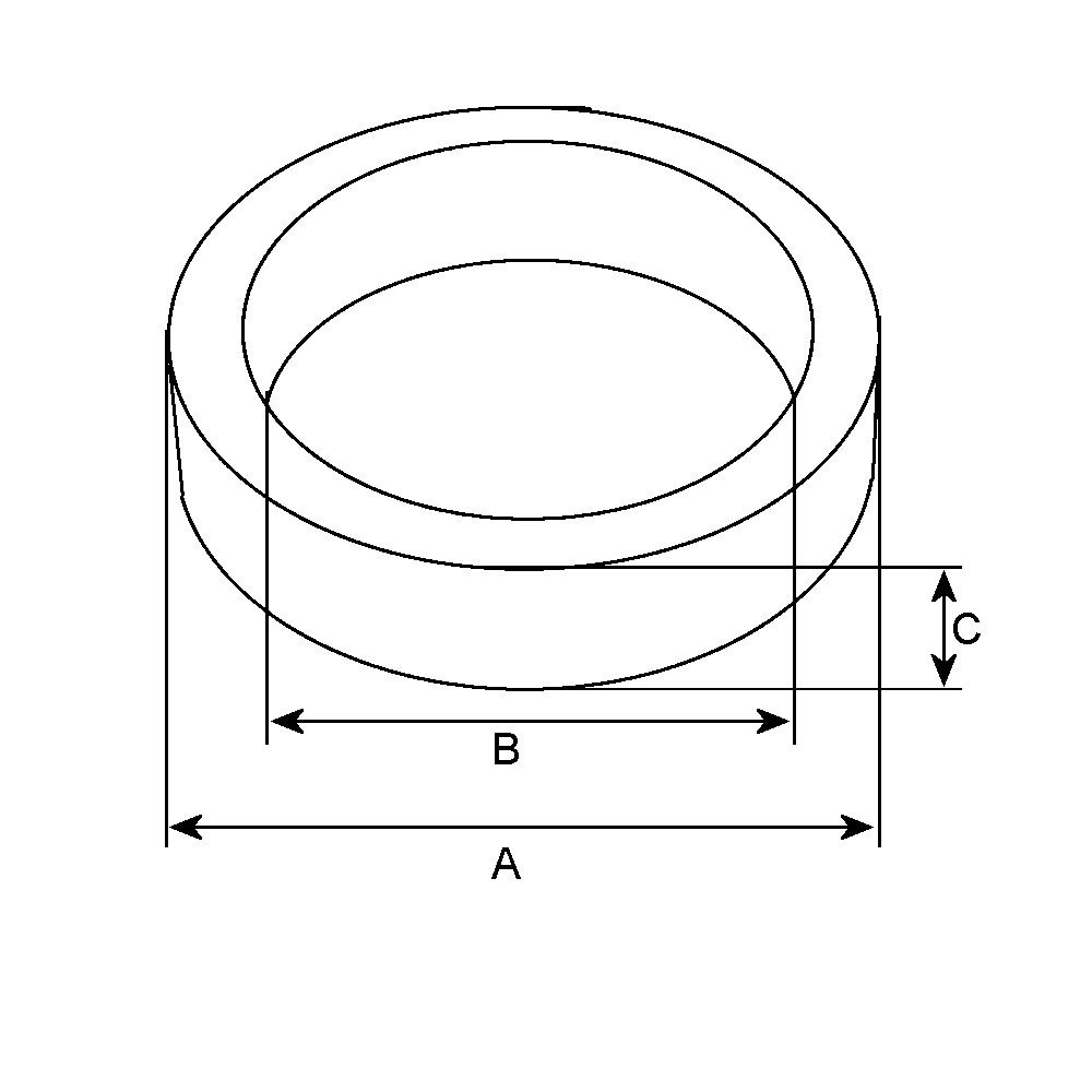
Type filetage mm, Type filetage mm, Norme din 7603, Diamètre intérieur 18.00, Type Bague cuivre, Matière Cuivre, Diamètre extérieur 24.00, D'épaisseur 1.50