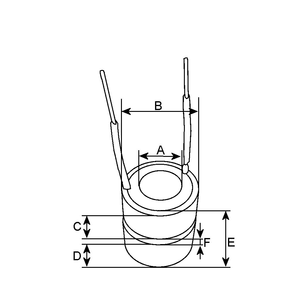
Ring 1 højde 9.15, Ring 2 højde 9.15, Indvendig diameter 12.00, Ringafstand 3.00, Materiale Kobber, Udv. diameter 22.50, Totallængde 24.40