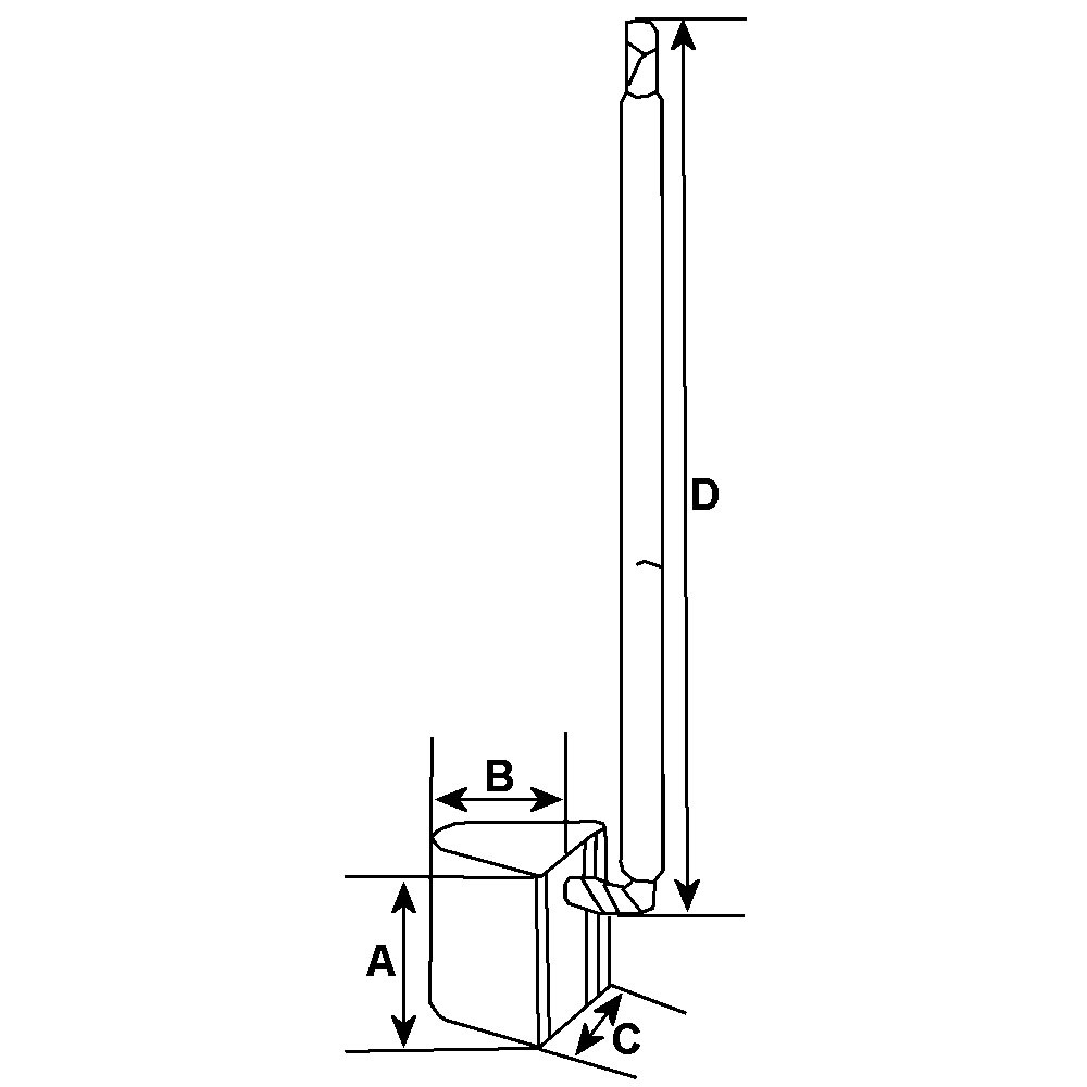
Volt 12, Leiter Mit, Feder Ohne, Leiterlänge 35.50, Lotloch Nicht verfügbar, Anschlusse Ohne, Länge 13.75, Dicke 6.85, Höhe 13.80